Мы используем cookie для наилучшего представления нашего сайта. Подробнее об этом в Политике конфиденциальности.
Ок

Красногорск

Ваш город:
Красногорск (Московская область)?
Нет
Да
Каталог
Каталог Написать в WhatsApp
Мотоэкипировка

Передняя вилка в сборе СКУТЕРА STELS LEADER 50

Передняя вилка в сборе СКУТЕРА STELS LEADER 50 в Москве: актуальный каталог, цены, фото, описание. Купите передняя вилка в сборе скутера stels leader 50 в кредит – оформите заявку онлайн за 1 минуту!

Оригинальные запчасти

Артикул НАИМЕНОВАНИЕ Кол-во деталей в узле Примечание Наличие Цена Аналоги Фото
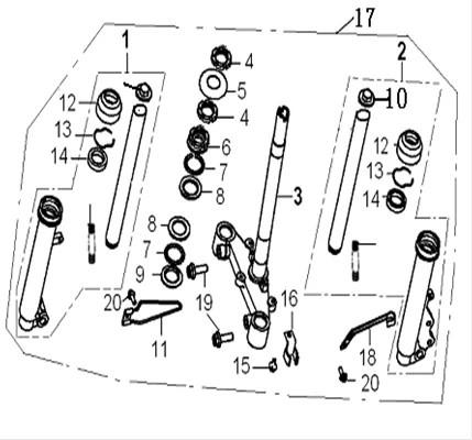
1 43300BMBT001 FR.R. FORK ASSY.

Под заказ

1

Под заказ

2 270

3 290

Купить
2 43200BMBT001 FR. L. FORK ASSY.

Под заказ

1

Под заказ

3 240

3 770

Купить
3 43100BMBT003 STEM, STEERING

Под заказ

1

Под заказ

2 590

3 810

Купить
4 43008BMAT000 NUT

Под заказ

2

Под заказ

40

50

Купить
5 43005BMBT001 BALL RACE COVER

Под заказ

1

Под заказ

270

410

Купить
6 43001BMBT002 BALL RACE, CONNECTING

Под заказ

1

Под заказ

40

60

Купить
7 B06010150000 STEEL BALLφ5(A SET OF 42)

Под заказ

42

Под заказ

уточнить

Купить
8 43003BMBT000 BALL RACE

Под заказ

2

Под заказ

80

130

Купить
9 43004BMBT000 BALL RACE

Под заказ

1

Под заказ

40

60

Купить
10 43204BMBT001 CAP BOLT

Под заказ

2

Под заказ

70

100

Купить
11 43150BMAT000 CLIP, SPEEDOMETER CABLE

Под заказ

1

Под заказ

30

40

Купить
12 43290K00P000 DUST SEAL

Под заказ

2

Под заказ

130

160

Купить
13 43207K00P000 CLIP

Под заказ

2

Под заказ

20

30

Купить
14 43260K00P000 OIL SEAL

Под заказ

2

Под заказ

270

300

Купить
15 B01090601265 BOLT 6×12MM

Под заказ

1

Под заказ

уточнить

Купить
16 43035BMBT000 HOLDER, BRAKE HOSE 2

Под заказ

1

Под заказ

20

30

Купить
17 43000BMBT001 Вилка передняя амортизационная (серебро), в сборе, сталь. LU016363 43000BMBT001

Под заказ

1

Под заказ

5 780

6 430

Купить
18 43021BM0T003 HOLDER, BRAKE HOSE 1

Под заказ

1

Под заказ

20

30

Купить
19 B01591003065 BOLT 10X1.25X30MM

Под заказ

2

Под заказ

уточнить

Купить

Нулевая цена не означает отсутствие товара. Оформите заказ, и менеджер сообщит вам цену и наличие товара, предварительно запросив их у поставщика

Главная Магазины
Корзина0
Профиль